The C-train concept, developed by Jacob Innovations, is an automated mass transit mode of elevated light weight trains with seating room only. The design eliminates need for depots - via capability to travel on upper and lower wheels by switching vertically between tracks and be stored vertically above the tracks. Also elevated design is free from traffic and weather fluctuations (elevated above street level). The cTrain system can be built quickly and cheaply with exiting technologies.The cTrains are self-driven, noise-free, and pollution-free. They require very little energy; each train would need the energy of about 3 golf carts (four-seat golf carts). Because of the low cost (under $2 mil/mile) the cTrain can provide coverage for through all the suburbs where there is typically little or no mass transit.
[Photos] cTrain Elevated Mass Transit Concept

The C-train concept is an automated mass transit mode of elevated light weight trains with seating room only. At about 10 to 12 seats placed in sequence, the C-train has a low height and width to help minimize weight as well as visual impact on the urban landscape. The low weight of the trains also simplifies the size and cost of supporting structures as well as their visual impact on the urban
landscape. Courtesy: Jacob Innovations

Smooth crossing at intersections: Crossings are
designed for smooth and seamless, as well as noise-free and without any moving parts required for the
rails. Courtesy: Jacob Innovations

The greater part of support of for the cTrain comes from the arches rather than the rails. This allows for thin rails so as to resemble cables and be minimally visually invasive. At all times there is an arch that supports the train (via the rails). Courtesy: Jacob Innovations

Visual impact: The trains are designed to move above as well as below the rails which places them in the middle section above the street and thus the furthest away from either side of the built environment - and further reduces the visual impact on the urban landscape. Courtesy: Jacob Innovations

Full Wheel Chair Access: Each train will have one section that can be used both for wheel chairs and regular seating, where two opposing seats can be folded.Courtesy: Jacob Innovations

Smooth Entry and Exit: In order to minimize the wait time in each station the cTrain is designed for quick entry and exit. By having the station platform lower by one step below the floor of the train reduces the movement needed to stand up and sit down (similar to access to and from an SUV) making exit and entry is faster and more comfortable. Courtesy: Jacob Innovations

Stations with minimal impact: Given that the length of each train is about 40' feet, the stations will have a small visual impact on the urban landscape. Courtesy: Jacob Innovations

No jostling for seats: Passengers line up to wait for the cars and walk to the points where a green light indicates an upcoming open seat, in the same way as accessing the next open teller in a bank.
Upon boarding they use a computerized system to indicate where they intend to get off—which helps indicate open seats in the upcoming
stations via green light (image included) as well as forecast passenger flow and send out more cars as volume picks up. By covering all major avenues the cTrain can handle the capacity needed to absorb all passengers with minimal wait times. Courtesy: Jacob Innovations

Simple and Accessible Technology: The cTrain uses available technologies and is design for quick and easy assembly and maintenance. Courtesy: Jacob Innovations

Capacity & Frequency is estimated at one train every 10 seconds with 10 passengers each: The cTrain in this model can carry 3,600 passengers per hour. Given that it covers all major avenues this capacity is sufficient to replace the typical subway that needs to be accessed from longer distances clustering passengers to cover a wide
area. Unlike the subway the cTrain can be accessed at the end of the block or at 2-3 blocks depending on exiting layout. Courtesy: Jacob Innovations

Noise Free: The cTrain wheels use rubber on the area of contact with the tracks which combined with small electric motors produce no audible noise. Courtesy: Jacob Innovations

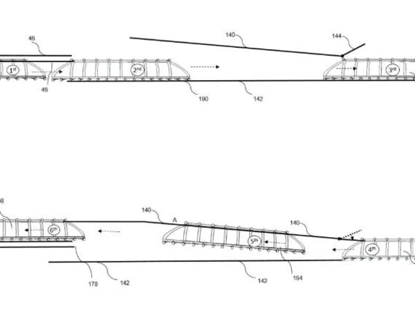
Switching tracks trains can switch tracks at the end of the line: In the example below the cTrain arrives in 1st position on lower tracks (using upper wheels) and switches to 6th position leaving the station on upper tracks (using lower wheels) Courtesy: Jacob Innovations

Fig. 19C - Upper wheels intersection of tracks with transitional support for lower wheels (274) Courtesy: Jacob Innovations

Vertical Depots: The cTrains parks itself in vertical depots for storage and easy maintenance. Data from stations will feed into algorithms by which the cTrain
decides whether to "Return" to
carry passengers of park itself. Courtesy: Jacob Innovations

Valuable Real Estate from Vertical Depots: In the previous example cTrains are stored vertically above existing streetcar lines freeing up valuable real estate taken by depot such as the Cleveland Circle facility in Brookline, Mass (shown). Courtesy: Jacob Innovations

